Клапан приточный КП (Ø100)
				
                Типоразмер: Ø100
            
                Ø100
                Ø125
                Ø160
                Ø200
                
																Диффузоры из металла КП – это изделия, которые используются в системах вентиляции и кондиционирования. 									
									
						Подробности
					
							
								Наличие и цену уточняйте у наших менеджеров.
							
											Клапан приточный КП (Ø100)
				
			Клапан состоит из нескольких элементов: монтажного кольца, корпуса и подвижного обтекателя. Все элементы изделия выполнены из стали.
Подвижный обтекатель зафиксирован на шпильке. Путем вращения этого элемента пользователь может регулировать объем поступающего или удаляемого воздуха в зависимости от требований, предъявляемых к помещению. Регулирование потока происходит за счет сужения или расширения живого сечения клапана. Подвижный обтекатель окрашен методом порошкового напыления в белый цвет (RAL 9016).
	            Подвижный обтекатель зафиксирован на шпильке. Путем вращения этого элемента пользователь может регулировать объем поступающего или удаляемого воздуха в зависимости от требований, предъявляемых к помещению. Регулирование потока происходит за счет сужения или расширения живого сечения клапана. Подвижный обтекатель окрашен методом порошкового напыления в белый цвет (RAL 9016).
		            	
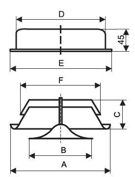
| Тип диффузора | A | B | C | D | E | F | 
| КП-100 | 138 | 92 | 40 | 99 | 125 | 98 | 
| КП-125 | 164 | 111 | 46 | 124 | 150 | 123 | 
| КП-160 | 211 | 147 | 54 | 159 | 185 | 158 | 
| КП-200 | 248 | 194 | 63 | 199 | 225 | 198 | 
Чтобы приобрести понравившийся товар, необходимо его заказать. Есть несколько сценариев того, как это можно сделать.
- Выбрать понравившийся товар и нажать кнопку «Заказать». При оформлении заказа заполнить форму. Вписать информацию в поля: ФИО, телефон и e-mail. Затем вам перезвонит менеджер, чтобы подтвердить ваше согласие на совершение покупки.
 - Выбрать понравившийся товар и нажать кнопку «В корзину». Затем перейти в корзину и нажать «Оформить заказ». Далее заполнить форму с контактными данными и отправить заявку. С вами свяжется менеджер для дальнейшего обсуждения.
 
Оплата
Мы работаем с физическими и юридическими лицами. И предоставляем сразу два варианта оплаты.
- Наличные. Вы подписываете товаросопроводительные документы, расплачиваетесь денежными средствами, получаете товар и чек.
 - Безналичный расчет. Принимаем карты Visa и MasterCard. Доступен при курьерской доставке.
 
Доставка
Можем доставить ваш заказ собственными ресурсами. Либо через варианты доставки:
- Доставка транспортной компанией. Специалист предложит выбрать удобное время доставки и уточнит адрес.
 - Самовывоз со склада. Для получения заказа обратитесь к сотруднику в зоне выдачи и назовите номер.
 
